标准和制造让世界重新认识闽旋之六:闽旋虹吸器 |
| 发布日期: 2017-08-23 浏览次数: 9292 新闻编辑: |
|
虹吸器是一种利用虹吸原理将烘缸内冷凝水排出从而提升烘缸表面温度的烘缸排水装置。市场上生产的虹吸器分为两大类,一类是固定式虹吸器,一类是旋转式虹吸器。固定式虹吸器即固定在烘缸外的某一点上,不随烘缸一起旋转;旋转式虹吸器固定在烘缸内部,随烘缸一起旋转。 固定式虹吸器几乎能够应用在所有车速在100米/分钟以上的设备上,悬臂固定式虹吸器还能够应用在开式齿轮和闭式齿轮传动的纸机上,能够在最大程度上减小设备的振动和偏转,使烘缸的加热效果更上一层楼。 本公司能够提供各种形式的旋转式虹吸器,包括常规简单式虹吸器和低压差旋转式虹吸器。旋转式虹吸器通常适应于中速纸机,由于虹吸管的吸嘴与缸壁间的间隙很小,形成的水环厚度很薄,因此热传导效果较好。本公司生产的旋转式虹吸器其组装件少,在虹吸器的进口处有一个不锈钢吸嘴与垂直冷凝水管焊接在一起,而在另一端有一个弹簧支撑的压力盘使虹吸器定位,以下为本公司常见的虹吸器结构: 一、固定式虹吸器 1.软管式虹吸器 软管式虹吸器是根据烘筒特点而与旋转接头配套使用的;虹吸管是由挠性较好的不锈钢金属软管制成,依靠自身重量,自由下垂到烘缸底部,因此安装十分便利。
特点: 1) 软管结构不受烘缸轴颈大小、烘缸直径限制,安装方便; 2) 测算时需考虑软管挠性下垂度,因受到软管材料挠性限制,无法控制吸嘴距烘缸内壁距离,容易造成烘缸积水太多或是软管吸嘴口与烘缸内壁产生摩擦; 3) 虹吸软管吸水后会造成重量增加,而软管下垂高度增加,容易造成擦缸,本公司虹吸器建议下垂度为25mm; 下垂的虹吸软管无钢性,受冷凝水冲击后,会发生摆动,偏移吸水位置,适用于低速旋转设备。
2.内支撑式90°锁紧式虹吸器 内管支撑固定式虹吸器是一种由内部碳质套管支撑的悬臂固定式虹吸器。坚固的不锈钢水平管与垂直管使用专有的锁定机制固定。弯头包含四部分:主体、摆动体、锁定螺丝和弹簧。所有组件均采用不锈钢制成。
特点: 1) 虹吸器结构不受烘缸轴颈大小、烘缸直径限制,安装方便; 2) 内支撑水平管,加强了水平管的强度; 3) 可使吸嘴口距烘缸内壁距离至最近; 4) 更好避免可能因水流冲击被损坏的危险性。
1) 采用铰链连接,方便安装、易维护; 2) 两肘接之间采用经过精磨加工的球头与之相接的内孔一线密封,加之紧定弹簧使两肘接间,形成了良好的密封; 3) 适用于低速旋转设备。 4.弹簧紧锁式弯头虹吸器
特点: 1) 全部采用不锈钢设计,制造强度高; 2) 采用铰链结构,不锈钢弹簧锁定,安装时可以伸直; 3) 可直接从烘缸轴颈内孔中安装,使用方便; 4) 密封采用下垂的凸球面和水平的凹球面密封,密封性能好。 5.弯管式虹吸器
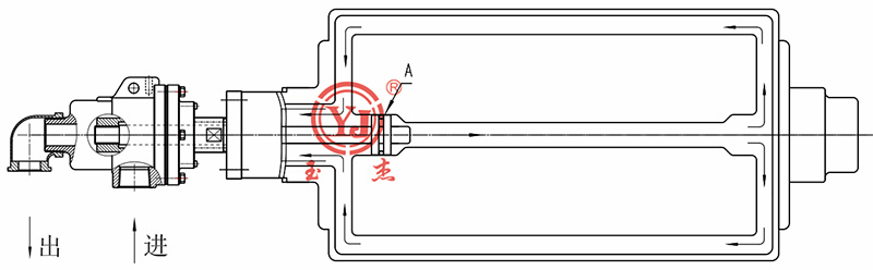
1) 整体采用不锈钢或碳钢材料设计,制造强度高; 2) 虹吸器安装时受到弯度的限制,测算时需考虑烘缸轴径内孔的大小,该结构适用于烘缸轴径内孔大、运转速度低的设备。 二、旋转式虹吸器 旋转式虹吸器相比于固定式虹吸器运转速度更高,由于虹吸管的吸嘴与缸壁间的间隙小,形成的流体介质厚度薄,因此传导效果较好。 本公司所生产的旋转式虹吸器类型主要有以下形式:
1
2
3
4
5
6
您的满意,我们的追求!欲知产品详情,请拨打电话0595-22201044咨询。 |


登录
注册
English





